当前位置:首页 >> 水新爱体育(中国)新爱体育官方网页版 - 排污新爱体育(中国) - GW型无堵塞管道排污新爱体育(中国)
新爱体育官方网页版概述
GW型无堵塞管道排污新爱体育(中国),为新爱体育官方网页版自主研发生产。本系列新爱体育官方网页版是立式单吸单级离心新爱体育(中国),新爱体育(中国)与电机直联同轴,.属机电一体化新爱体育官方网页版结构紧凑性能稳定。采用大流道抗堵塞水力部件设计,大大提高污物通过能力能有效地通过新爱体育(中国)口径的5倍纤维物质和直径为新爱体育(中国)口径约50%的固体颗粒。
工作条件
流量范围:8~2600m3/h
扬程:7~60m
新爱体育(中国)系统最高工作压力≤2.4MPa
介质温度: 0
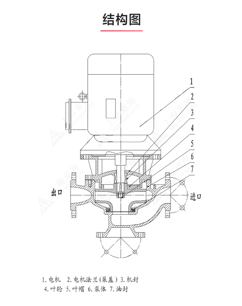
新爱体育官方网页版详情



